Высота установки сантехники
- Bathstudio.ru
- Высота установки сантехники
Это важно знать
Высота установки смесителей от уровня чистого пола:
- 800 мм для водоразборных кранов в банях, смывных кранов унитазов, смесителей инвентарных моек в общественных и лечебных учреждениях, смесителей для ванн;
- 1100 мм для смесителей и моек клеенок в лечебных учреждениях, смесителей общих для ванн и умывальников, смесителей локтевых для хирургических умывальников;
- 600 мм для кранов, обеспечивающих подачу воды для мытья полов в туалетных комнатах общественных зданий;
- 1200 мм для смесителей душа.
| Санитарные приборы | Высота установки от уровня чистого пола, мм | ||
| В жилых, общественных и производственных зданиях | В школах и детских лечебных учреждениях | В дошкольных учреждениях и в помещениях для инвалидов, передвигающихся с помощью различных приспособлений | |
| Умывальники* (до верха борта) | 800 | 700 | 500 |
| Раковины и мойки** (до верха борта) | 850 | 850 | 500 |
| Ванны (до верха борта) | 600 | 500 | 500 |
| Писсуары настенные и лотковые (до верха борта) | 650 | 500 | 400 |
| Душевые поддоны (до верха борта) | 400 | 400 | 300 |
| ПРИМЕЧАНИЯ Допускаемые отклонения высоты установки санитарных приборов для отдельно стоящих приборов не должны превышать ±20 мм, а при групповой установке однотипных приборов 5 мм. Смывная труба для промывки писсуарного лотка должна быть направлена отверстиями к стене под углом 45° вниз. При установке общего смесителя для умывальника и ванны высота установки умывальника должна быть 850 мм до верха борта. Высота установки санитарных приборов в лечебных учреждениях должна приниматься следующей, мм:
| |||
* Умывальник — керамическое изделие, то, что обычно мы называем раковиной
** Раковина (согласно ГОСТ 30493-96) — раковина стальная эмалированная.
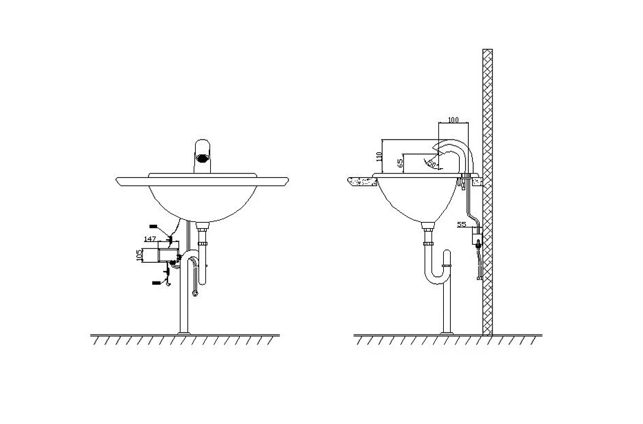
Высота установки смесителей от уровня чистого пола:
- 800 мм для водоразборных кранов в банях, смывных кранов унитазов, смесителей инвентарных моек в общественных и лечебных учреждениях, смесителей для ванн;
- 800 мм для смесителей видуаров с косым выпуском;
- 1000 мм для смесителей видуаров с прямым выпуском;
- 1100 мм для смесителей и моек клеенок в лечебных учреждениях, смесителей общих для ванн и умывальников, смесителей локтевых для хирургических умывальников;
- 600 мм для кранов, обеспечивающих подачу воды для мытья полов в туалетных комнатах общественных зданий;
- 1200 мм для смесителей душа.
Душевые головки должны устанавливаться на высоте:
- от 2100 до 2250 мм, отмеренной от низа сетки душа до уровня чистого пола;
- от 1700 до 1850 мм в кабинах для инвалидов;
- 1500 мм, отмеренной от днища поддона, в детских дошкольных учреждениях. Отклонения от размеров, указанных в настоящем пункте, не должны превышать 20 мм.
Высота установки санитарно-технических приборов — Все о ремонте и строительстве
Современный строительный рынок насыщен огромным количеством различных типов смесителей, раковин, моек, ванн и унитазов, отличающихся по размерам, цвету и дизайну. Однако, несмотря на кажущееся разнообразие, сантехнические приборы можно четко подразделить по функциональности и способу соединения с трубопроводами. страничках сайта мы не будем касаться темы выбора сантехнического оборудования той или иной фирмы и их конструктивных отличий, а остановимся только на самых распространенных способах соединения их с трубопроводами.
Сантехнические приборы следует устанавливать после монтажа трубопроводов и полной готовности всех строительных и подготовительно-отделочных работ, т. е. перед финишной отделкой помещения. Перед установкой приборов должны быть выполнены водопроводные подводки заканчивающиеся водорозетками с внутренней резьбой 1/2 дюйма либо угольниками, тройниками, муфтами или коллекторами с такой же резьбой для подключения к ним смесителей или других типов водоразборных кранов.
Все санитарно-технические приборы устанавливают строго по уровню. Высота их установки регламентируется нормативными документами. Допускаемое отклонение в размерах для всех отдельно стоящих приборов 20 мм.
таблица 7
| Наименование приборов | Высота установки приборов от пола, мм | ||
|---|---|---|---|
| Общепринятая | Для подростков | Для детей | |
| Умывальник (до борта) | 800 | 700 | 600 |
| Раковины и мойки (до борта) | 850 | — | — |
| Писсуары индивидуальные (до борта) | 650 | 450 | 450 |
| Унитазы (до верха борта) | 400 | 400 | 330 |
| Ванны (до борта) | 600–650 | 600–650 | 600–650 |
Монтаж канализационных отводов и водопроводных подводок (квартирных трубопроводов) желательно производить при наличии уже закупленного сантехнического оборудования: раковин, моек, смесителей, сифонов и т.
Однако скрытый монтаж предполагает и более точное расположение водорозеток и канализационных отводов. Например, установка в ванной комнате раковины для умывания с настенным креплением смесителя предполагает наличие самой раковины и сифона к ней.
Отвод от сифона сразу заходит в стену, значит нужно, как минимум, знать глубину раковины и высоту сифона, чтобы разметить место выхода канализационной трубы из стены. Смеситель по нормам должен быть выше кромки раковины на 200 мм, здесь из стены должны выйти водорозетки. Если с установкой раковины и смесителя можно определиться без покупки раковины по выше приведенной таблице, то с выходом канализационной трубы это сделать довольно сложно: раковины изготавливают различной глубины, а сифоны различной высоты. И другой случай, предположим, что вместо настенного, на раковину вам хочется установить смеситель, крепящийся непосредственно к полке раковины. Ситуация резко меняется. Подключать смеситель к водорозеткам, расположенным выше раковины, будет крайне неэстетично. Водорозетки в этом случае должны быть ниже раковины (рис. 36). Причем на такой высоте, чтобы подключению к ним смесителя не мешала задняя полка раковины и чтобы хватало длины подводки, прилагаемой в комплекте со смесителем. Хорошо, если это гибкие шланги, их можно выкинуть и поставить более длинные, а если это поставляемые вместе со смесителем латунные или хромированные трубки? Удлинить фирменную подводку дорогого импортного смесителя гибкими шлангами, конечно можно, и работать будет долгие годы, но это, как-то неправильно, все равно, что приделать к «Мерседесу» бампер от «Запорожца»: поехать-то поедет, но засмеют.
Таким образом, при высококачественных работах и скрытой прокладке трубопроводов нужно делать точную разметку выходов водорозеток и выпусков канализации под имеющееся сантехническое оборудование. Для стиральных машин-автоматов рекомендуемый отвод воды располагают на высоте 80 см (хотя здесь возможны варианты), подключение воды не регламентируется, но делается примерно на той же высоте.
Если к качеству работ предъявляются более низкие требования, то выходы водорозеток для смесителей, устанавливаемых на полку прибора, и канализационных выпусков можно сделать пониже, например, в 30–50 см от пола, а подводку воды и отвод стоков сделать гибкими шлангами и гофрированной канализационной трубой. Для установки настенных смесителей следует руководствоваться нормами приведенными в таблице выше и на странице сайта. Отвод стоков от душевых кабин, ванн и унитазов делается непосредственно у пола, подвод воды зависит от типа смесителей: настенных или напольных (в смысле, на полке прибора) и делается либо выше, либо ниже места установки прибора.
Санитарно-технические приборы крепят к каменным или бетонным стенам и перегородкам, как правило, с помощью дюбелей и саморезов, а к деревянным конструкциям — непосредственно саморезами.
Стандартная высота сантехники – Подробная информация
Содержание
Ванная комната – один из самых важных элементов дома, который помогает нам очиститься и освежиться. Но если высота арматуры будет неподходящей, это приведет к дискомфорту и проблемам при пользовании ванной комнатой.
Итак, чтобы правильно использовать нашу ванную комнату, стандартную высоту сантехники необходимо знать при планировании и строительстве вашей ванной комнаты.
Прочтите эту подробную информацию о размерах ванной комнаты и туалета и их оборудовании.
Размер ванной комнаты
Прежде чем подробно остановиться на высоте сантехники, давайте сначала представим средний размер ванной комнаты и ее минимальные размеры.
- Минимальная площадь ванной комнаты – 20 кв. футов
- Средняя площадь ванной комнаты – 30 кв. футов
- Минимальная площадь туалета – 16 футов 2
- Средняя площадь туалета – 20 футов 2
Когда ванная комната и туалет (туалет, раковина) объединены, то стандартный размер составляет от 35 до 40 кв. футов (8 футов X 5 футов).
Для роскошной полноразмерной ванной комнаты требуется площадь не менее 50 квадратных футов. Чтобы в нем можно было разместить ванну, кроме раковины для душа и унитаза.
Независимо от того, насколько велика или мала ваша ванная комната, в этом посте вы найдете все размеры и высоту небольших ванных комнат.
Высота потолка ванной комнаты
Обычно высота домов составляет 9до 10 футов, но высота ванной комнаты ниже из-за верхнего резервуара для воды. Обычно в ванной комнате над резервуаром для воды требуется пространство от 2 до 2,5 футов, поэтому в таких условиях потолок ванной комнаты уменьшается до 7 футов.
Но при любых обстоятельствах в ванной комнате требуется минимальная высота потолка 7 футов.
Стандартная высота сантехникиСтандартная высота сантехники
Для быстрого ознакомления ниже мы приводим размеры высоты сантехники в табличном формате. Подробная информация обо всей сантехнике приведена под этой таблицей.
| Старший номер | Сантехника | Стандартная высота над чистым полом (в футах) | Стандартная высота над чистым полом (в дюймах) | Стандартная высота над чистым полом (в метрах) 00610 | |
|---|---|---|---|---|---|
| 1 | Bathroom Shower Head | 6. 5 ft | 78″ | 1.98 m | |
| 2 | Bathroom Mixer/Divertor | 3 ft | 36″ | 0.91 M | |
| 3 | Ванная комната | 2,5 FT | 30 « | 0,76 M | |
| 4 | ванная комната. 5 | Bathroom Vanity | 3 ft | 36″ | 0.91 m |
| 6 | Wash Basin Height | 2.67 ft | 32″ | 0.81 m | |
| 7 | Bottle Trap For Wash Basin | 1.5 ft | 18″ | 0.46 m | |
| 8 | Angle Cock For Wash Basin | 1.5 ft | 18″ | 0.46 m | |
| 9 | Bathroom Mirror | 4 ft | 48″ | 1.22 m | |
| 10 | Soap Dispenser | 3.5 ft | 42″ | 1.07 m | |
| 11 | Soap Dish | 4 ft | 48″ | 1. 22 m | |
| 12 | Bathroom Cabinet | 4.5 ft | 54″ | 1.37 m | |
| 13 | Bathroom Shelves | 4 ft | 48″ | 1.22 m | |
| 14 | Bathroom Niches | 4 ft | 48″ | 1.22 m | |
| 15 | Towel Rail | 5 ft | 60″ | 1.52 m | |
| 16 | Towel Ring | 4 ft | 48″ | 1.22 m | |
| 17 | European W.C. | 1.42 ft | 17″ | 0.43 m | |
| 18 | Toilet Держатель бумаги | 2,17 футов | 26 « | 0,66 M | |
| 19 | ЗДОРОВЬЯ/ СПРЕСКИ0063 Bib Tap For Toilet | 1.5 ft | 18″ | 0.46 m | |
| 21 | Flush Cistern | 3 ft | 36″ | 0.91 m | |
| 22 | Angle Cock For Flush Tank | 2 футов | 24 « | 0,61 м | |
| 23 | Смень. 0063 2 ft | 24″ | 0.61 m | ||
| 25 | Lighting Fixture | 8 ft | 96″ | 2.44 m | |
| 26 | Bathroom Exhaust Fan | 6 ft | 72″ | 1,83 м |
Высота сантехники
Ниже вы найдете полную информацию обо всей сантехнике, а также ее стандартную и допустимую высоту, которая используется в строительстве.0003
Насадки для душа для ванной
Высота душа в ванной должна быть подходящей, чтобы пользователь мог стоять под ней во время принятия душа. Средний рост человека составляет от 5,5 до 6 футов, поэтому за стандартную высоту душевой лейки от готового пола принимается 6,5 футов.
Несмотря на то, что рекомендуемая высота душа составляет 6,5 футов, ее можно изменить в зависимости от роста пользователя и его удобства. Если в ванной комнате предусмотрен верхний резервуар для воды, то необходимо уменьшить высоту душа.
Как правило, высота может варьироваться от 6 футов до 7 футов.
Смеситель/переключатель для ванной комнаты Высота
Смеситель или переключатель для ванной должны быть размещены на высоте, обеспечивающей легкий доступ стоя. Стандартная высота смесителя или дивертора составляет 3 фута.
В зависимости от удобства доступа пользователя эта высота может варьироваться от 33″ до 40″.
Ванная комната Диверторный излив Высота
Излив – это кран, через который выходит вода, когда в ванной установлен дивертор. Рекомендуемая высота излива составляет 2 фута над уровнем пола. Но опять же эту высоту можно отрегулировать в соответствии с удобством пользователя.
Высота основного запорного крана для ванной комнаты
Скрытый запорный кран предназначен для управления потоком воды в наших домах. Мы можем закрыть или открыть запорный кран, чтобы контролировать поток воды.
Общая высота скрытого главного запорного крана составляет 52 дюйма. Но в некоторых случаях она может варьироваться от 4 футов до 6 футов в зависимости от эстетики и доступности.
Впускной и выпускной скрытый запорный кран также предусмотрен, если надземный водяной бак используется для хранения воды. Их высота такая же, как и у главного запорного крана, то есть от 4 до 6 футов.
Ванная комната Тумба под умывальник Высота
Стандартная высота туалетного столика считается подходящей на высоте 3 фута от уровня отделки пола. В зависимости от роста и возраста пользователя это может быть уменьшено или увеличено.
Если ванная предназначена для детей, то высота умывальника не должна быть уменьшена в соответствии с их ростом. Ведь рано или поздно дети вырастут в рост и потребуется переделка тумбочки. Но чтобы компенсировать доступность тумбы для детей, следует использовать столик для детей.
Душевая кабина или душевая кабина
Душевая кабина или душевая кабина закрыты стеклом и имеют насадку для душа и форсунки для тела, которые разбрызгивают воду для принятия ванны.
Душевой бокс может быть квадратной или прямоугольной формы по выбору владельца дома.
Насадка для душа должна быть установлена на высоте 6,5 футов. Смеситель горячей и холодной воды должен располагаться на высоте 3,5 фута.
- Минимальная квадратная душевая кабина – 3 фута X 3 фута (9 кв. футов)
- Минимальная прямоугольная душевая кабина – 3 фута X 4 фута (12 кв. футов)
- Стандартные размеры используемых душевых кабин: 2,67 фута X 4 фута, 3’X3’, 3’X5’ и многие другие.
Размеры ванны
Ванна для ванной бывает разных конструкций, моделей, форм и размеров. Выберите ту модель или ванну, которая вам нравится. Стандартные размеры ванны: 5’X2,67’, 5,5’X2,67’, 6’X3’.
Сантехническая арматура делается под ванну. Стандартная высота сантехнических приборов должна составлять 33 дюйма от пола ванной комнаты, чтобы во время принятия ванны пользователь мог получить доступ к элементам управления водой.
Высота умывальника для ванной комнаты
В зависимости от типа умывальника и предпочтений пользователя высота умывальника варьируется от 30 до 36 дюймов.
А вот рекомендуемая высота умывальника считается 32 дюйма.
Стандартная высота умывальника от пола в футах составляет 2,5 фута. Другие размеры умывальника приведены ниже.
- Передний верхний край умывальника должен составлять 800 мм
- Расстояние между центрами умывальника – 2,5 фута
- Расстояние между умывальником и прилегающей стеной – 1,5 фута
- Расстояние между краем умывальника и центром унитаза – 1,33 фута.
- Расстояние между передним краем умывальника и противоположной стеной – 3 фута. Есть еще много типов умывальников, которые мы подробно рассмотрим в другом посте.
Высота раковины умывальника над уровнем пола поддерживается на уровне от 2,5 до 3 футов в зависимости от типа раковины умывальника, такой как пьедестал, встраиваемая раковина или над столешницей.
Угловой кран для умывальника
Кран на стойке используется для подачи воды в умывальник, который монтируется на столешнице или на пьедестале умывальника.
Но ниже счетчика находится угловой кран, который регулирует поток воды через соединительную трубу в кран стойки.Угловой кран для умывальника устанавливается на высоте 18 дюймов над уровнем пола.
Сифон для бутылок для умывальника
Сточные воды из умывальника сбрасываются в дренажную трубу через сливную муфту и, наконец, через сифон для бутылок. Ловушка для бутылок устанавливается на высоте 18 дюймов или 1,5 фута от уровня пола.
В некоторых случаях сифон для бутылок не используется, а к сливному штуцеру умывальника подсоединяется гибкая соединительная трубка, которая отводит сточные воды в сифон Нахани.
Ванная Гейзер высота
Гейзер является обязательным элементом каждой ванной комнаты, особенно в холодных регионах. Чтобы иметь надлежащую непрерывную подачу воды, гейзер должен быть размещен на соответствующей высоте.
Стандартная высота сантехнического оборудования газовой колонки от 5 футов до 6 футов, в зависимости от типа газовой колонки.
Стандартная рекомендуемая высота гейзера составляет 6 футов.Аксессуары для ванной комнаты и их высота
Стандартная высота аксессуаров для ванной комнаты, таких как дозатор мыла, зеркало, полки и шкаф для ванной комнаты, показана ниже.
Зеркало для ванной стандартной высоты
Зеркало для ванной помогает нам освежиться и привести себя в порядок в ванной. На самом деле высота зеркала у разных людей разная, как правило, нижняя часть зеркала должна закрывать ваше плечо.
Обычно зеркала в туалетах устанавливаются на высоте более 4 футов от уровня пола. Высота может достигать 5,5 футов в зависимости от индивидуальных предпочтений.
Высота дозатора мыла
После посещения туалета или мочеиспускания нам необходимо вымыть руки. Таким образом, дозатор мыла пригодится, и он должен быть расположен так, чтобы его можно было легко использовать во время мытья рук.
Стандартная высота дозатора мыла варьируется от 40 до 48 дюймов. Рекомендуемая высота дозатора мыла составляет 42 дюйма.

Высота мыльницы
Если дозатор для мыла не предусмотрен, необходимо установить мыльницу. Мыльницу следует ставить подальше от душевой, чтобы в мыльницу не скапливалась лишняя вода.
Стандартная высота мыльницы от 44 до 54 дюймов. В основном мыльница предусмотрена на высоте 4 фута.
Размер тумбы для ванной комнаты
Тумба для ванной комнаты удобна для хранения повседневных туалетных принадлежностей. Высота шкафа должна быть такой, чтобы любой мог легко получить к нему доступ без использования стола. Наша рука должна дотянуться до верха шкафа без посторонней помощи.
Стандартная высота тумбы для ванной 54 дюйма. Между столешницей раковины и тумбой должен быть зазор не менее 18 дюймов. Поскольку мы знаем, что верхняя часть умывальника составляет 36 дюймов, таким образом, размещение шкафа на высоте 54 дюйма дает зазор в 1,5 фута между ними.
Высота полки для ванной комнаты
Не существует жесткого правила для высоты полки для ванной комнаты.
Полки для ванной могут быть установлены в соответствии с нашей волей и нашими потребностями. Обычно он устанавливается на высоте от 3 до 4 футов.Ниши для ванной комнаты высота
Встраиваемые ниши для ванной пользуются спросом и все чаще используются в оформлении интерьера современной ванной комнаты. Одним из наиболее важных факторов из-за его популярности является то, что он не требует места и устанавливается утопленным внутри стены.
Стандартной высоты ниши для ванной комнаты нет, но обычно она устанавливается на высоте 4 фута от уровня чистого пола.
Кольцо для полотенец
Кольцо для полотенец, если оно имеется в ванной, обычно устанавливается на высоте 48 дюймов. Хотя кольцо для полотенца можно зацепить на расстоянии до 5 футов в зависимости от удовлетворенности пользователя.
Вешалка для полотенец
Вешалка для полотенец обычно устанавливается на большей высоте, около 5 футов, чтобы душ и купание не намокали. между душевой кабиной и полотенцесушителем должно быть обеспечено подходящее расстояние.
Вешалка для полотенец имеет длину от 1,5 до 2 футов.Рекомендуется для вас:
- Все виды труб – Подробная информация о трубе
- Что такое FSI и полная информация о нем.
- Стоимость строительства здания 2022
Стандартная высота унитаза
Унитаз и его необходимая фурнитура, такая как держатель для туалетной бумаги и кран для здоровья, если они не установлены на соответствующей высоте, могут затруднить их использование пользователем. Таким образом, важная сантехника и стандартная высота сантехнических приборов указаны ниже для справки.
Европейский туалет Высота
Индийский туалет, также известный как Orissa WC, устанавливается на полу, поэтому его высота не имеет значения. Но когда речь идет о настенном европейском унитазе, то следует быть осторожным с его высотой.
Стандартная высота подвесного унитаза составляет 17 дюймов над уровнем пола. Эта высота должна быть выдержана с точностью и аккуратностью, чтобы на нее можно было легко сесть.

Несмотря на то, что рекомендуемая высота унитаза составляет 1,42 фута, пользователь может незначительно изменить это значение, если ему неудобно из-за своего роста или по какой-либо другой причине. Дренажная труба устанавливается на подходящей высоте габаритов унитаза.
Для установки унитаза на стену его ширина должна составлять 40 дюймов, но при недостатке места должна быть свободная ширина не менее 30 дюймов. Ширина 30 дюймов позволяет пользователю удобно сидеть и с легкостью пользоваться туалетом.
При установке унитаза оставьте перед ним достаточно свободного пространства. Минимальный рекомендуемый зазор составляет 30 дюймов.
Важное измерение, о котором следует помнить, прежде чем приступить к работе.
- Расстояние от центра туалета до прилегающей стены – 1,5 фута
- Расстояние от переднего края унитаза до противоположной стены – 2,5 фута
- Расстояние от центра унитаза до бокового края умывальника – 1,33 фута
- Расстояние от переднего края унитаза до противоположного умывальника – 2,5 фута
Держатель туалетной бумаги
Стандартная высота держателя туалетной бумаги составляет от 8 до 12 дюймов над краем унитаза или унитаза, чтобы пользователь мог легко их использовать.
Стандартная высота держателя туалетной бумаги при измерении от пола ванной комнаты составляет 26 дюймов.Смеситель для здоровья или струйный спрей
Струйный спрей (обычное название смесителя для здоровья) является важной частью любой ванной комнаты. Некоторых людей не устраивает туалетная бумага, и для большей чистоты они предпочитают воду, которую дает водопроводный кран.
Медицинский кран или струйный распылитель должны находиться на стандартной высоте 18 дюймов над уровнем пола.
Нагрудник для унитаза
В общественных местах туалетная бумага и медицинский кран не предусмотрены, поэтому в таких местах предусмотрен нагрудный кран для уборки. Этот нагрудный кран также расположен на той же высоте, что и кран для здоровья, на высоте 18 дюймов над уровнем пола.
Смывной бачок
Смывной бачок расположен на высоте, обеспечивающей соответствующее давление воды для смывания отходов в дренажную линию. Смывной бачок устанавливается на стандартной высоте 3 фута над уровнем пола.

Если появляется окно или какие-либо другие препятствия, то эту высоту можно отрегулировать соответствующим образом. Но его следует держать на высоте, чтобы был возможен надлежащий сток воды.
Угловой кран для смывного бачка устанавливается на высоте 24 дюйма.
В зданиях, где есть круглосуточное водоснабжение, устанавливаются сливные краны. Смывной клапан подает воду под высоким давлением, необходимым для смыва. Смывной клапан устанавливается на высоте 40 дюймов от уровня пола.
Высота писсуара и его принадлежностей
Писсуар обычно устанавливается в общественных местах и редко в жилых домах. Но если это предусмотрено, то его обычно поднимают над уровнем пола и сооружают платформу. Высота, указанная выше, от платформы писсуаров.
- Высота передней части писсуара – 24 дюйма
- Высота датчика смыва писсуара – 51 дюйм
- Высота смывного бачка для писсуара – 78 дюймов
- Соединение сточной трубы с писсуаром – 14 дюймов
- Верх перегородки писсуара – 60 дюймов
- Межосевое расстояние между перегородками писсуара – 24 дюйма
Таким образом, стандартная высота писсуара от уровня пола составляет от 2 футов или 24 дюймов до 28 дюймов.

Разное Сантехника и ее высота
Стандартные светильники для ванной комнаты
Светильники должны располагаться на расстоянии не менее 3 футов от периметра купания. Подвесные светильники следует закреплять на высоте 8 футов или на потолке ванной комнаты.
Электрические выключатели в ванной
Во избежание поражения электрическим током важно держать электрические выключатели вдали от водопроводных труб. В целях безопасности необходимо расстояние не менее 5 футов от ближайшего источника воды.
Вытяжной вентилятор для ванной
Вытяжной вентилятор ванной комнаты должен быть установлен на высоте 6 футов или 1,8 метра от пола ванной комнаты.
Стандартная высота окна ванной комнаты
Обычно размер окна ванной комнаты составляет 600 мм X 1050 мм или 450 мм X 1050 мм. Высота окна ванной комнаты от уровня пола варьируется от 2,5 футов до 4 футов.
Надеюсь, эта подробная статья о стандартной высоте сантехники и сантехники окажется для вас полезной, и если это так, поделитесь ею со своими друзьями или теми, кому это будет полезно.
от него. Следите за нами в других социальных сетях, ссылка на которые указана на этом сайте.Размер двери ванной комнаты
Ширина двери ванной комнаты должна быть 30 дюймов. Но если есть ограничение, оно может варьироваться от 26 дюймов до 32 дюймов. Дверь в ванную комнату должна открываться в ванную, а не наружу. Дверь также следует выбирать с учетом того, что она не должна задевать унитаз, если таковой имеется.
Руководство по установке нового оборудования для ванной комнаты
Понедельник, 13 марта 2017 г. — 9:15 (EDT)
Руководства по установке Ванная
Статья Введение
От вешалок для полотенец до крючков для халатов — вот размеры высоты, которые необходимо соблюдать при установке сантехники.
Когда дело доходит до установки новой сантехники, взгляд на размещение и размеры наверняка вызовет некоторое разочарование в будущем. Мало того, что это будет беспокоить вас каждый раз, когда вы входите в ванную комнату, сантехника, установленная в неудачном месте, может фактически снизить функциональность комнаты.

Мы составили удобный ресурс с описанием правильной высоты и размещения наиболее распространенных предметов сантехники. Один небольшой совет перед началом любого проекта: всегда держите под рукой уровень, чтобы убедиться, что все ваше новое оборудование равномерно выровнено.
- Вешалка для полотенец: 42–48 дюймов над землей
- КОЛЬЦО ДЛЯ ПОЛОТЕНЦА: 50–52 дюйма от земли
- КРЮЧОК ДЛЯ ОДЕЖД: 65–70 дюймов над землей
- ДЕРЖАТЕЛЬ ДЛЯ ТУАЛЕТНОЙ БУМАГИ: 26 дюймов от земли
- ДУШЕВАЯ ТРУБА : 75–77 дюймов над землей
- ЗАХВАТ: 33–36 дюймов над землей
Продолжайте читать для подробного объяснения!
Вешалка для полотенец
Вешалка для полотенец обычно имеет размер от 18 до 32 дюймов. Из-за их длины лучше всего устанавливать их на самой длинной стене в ванной комнате.
После того, как вы определились с местом размещения, измерьте расстояние от 42 до 48 дюймов от земли.
Здесь пригодится уровень — поскольку нужно установить две базы, убедитесь, что они обе выровнены. Узнайте больше об установке полотенцесушителей.Кольца для полотенец
Кольца для полотенец хорошо дополняют вешалки для полотенец, особенно в гостевой ванной комнате. Повесьте декоративные полотенца на барную стойку и используйте кольцо для полотенец, чтобы убрать полотенце для рук со стойки.
Для обеспечения функциональности вам следует установить кольца для полотенец в пределах нескольких дюймов от раковины.
Стремитесь установить кольцо для полотенец на высоте от 50 до 52 дюймов от земли. Полотенца должны свободно висеть и не касаться верхней части туалетного столика. Если вы столкнулись с проблемой, отрегулируйте высоту установки соответствующим образом.
Крючок для халатов
Крючки для халатов и полотенец отлично подходят для подвешивания как халатов, так и полотенец. Крючки для халатов можно установить в любом месте комнаты, хотя лучше всего держать хотя бы один на расстоянии вытянутой руки от душа.

Крючки для одежды должны быть установлены на высоте от 65 до 70 дюймов от земли. Если ваше полотенце или халат не волочатся по полу, подойдет любая высота выше 60 дюймов. Посмотрите наше видео по установке здесь.
Думаете об установке нескольких крючков для одежды? Держите их на расстоянии не менее 9 дюймов друг от друга, чтобы ваши полотенца и халаты не соприкасались.
Держатель для туалетной бумаги
Между стандартными подпружиненными держателями и держателями в европейском стиле у туалетной бумаги никогда не было более стильного места для подвешивания! Размещение держателей для туалетной бумаги довольно простое: они устанавливаются либо на стену, либо на туалетный столик.
Если вы устанавливаете держатель для туалетной бумаги непосредственно на стену, его следует установить на высоте 26 дюймов от пола. Национальная ассоциация кухонь и ванн отмечает, что, поскольку стандартные туалеты и туалеты комфортной высоты имеют высоту менее 26 дюймов, это хорошее число, от которого можно отталкиваться.


5 ft
22 m
0063 2 ft
Но ниже счетчика находится угловой кран, который регулирует поток воды через соединительную трубу в кран стойки.
Стандартная рекомендуемая высота гейзера составляет 6 футов.
Полки для ванной могут быть установлены в соответствии с нашей волей и нашими потребностями. Обычно он устанавливается на высоте от 3 до 4 футов.
Вешалка для полотенец имеет длину от 1,5 до 2 футов.
Стандартная высота держателя туалетной бумаги при измерении от пола ванной комнаты составляет 26 дюймов.

от него. Следите за нами в других социальных сетях, ссылка на которые указана на этом сайте.
Здесь пригодится уровень — поскольку нужно установить две базы, убедитесь, что они обе выровнены. Узнайте больше об установке полотенцесушителей.
